Engine Post your engine related problems in this section. Engines will cover from Fuel, Engine, Cooling, Exhaust physical related items.

Leftover bolts from head gasket replacement? [solved]

Thread Tools
 
Search this Thread
 
Old Mar 3, 2023
  #1  
shunpiker's Avatar
Thread Starter
Registered!!
 
Joined: Mar 2023
Posts: 17
Likes: 2
From: North Carolina
Rep Power: 0
shunpiker is an unknown quantity at this point
Leftover bolts from head gasket replacement? [solved]

Hi Everyone,

The tutorial/DIY threads have been very helpful; thank you all for sharing your wisdom!

I’m 3/4 of the way through my head gasket/timing belt/water pump replacement and thought I’d ask you guys if you know where these 2 bolts might go. I have them labeled as “last 2 bolts from head”. But the head’s back on and I’m not sure where they go. Any assistance or ridicule will be appreciated.

The bolt requires a 10mm wrench/socket and is 5mm in diameter.
It’s approx: 2.75 inches long: 1” threaded, 1.75” shoulder


photo here: https://photos.app.goo.gl/KtFKL2ohVMgW7Qp4A

Thank you in advance!

John
Reply
Old Mar 3, 2023
  #2  
BrotatoChip's Avatar
Super Moderator
 
Joined: Jun 2012
Posts: 5,073
Likes: 2,096
From: Ohio
Rep Power: 224
BrotatoChip has much to be proud ofBrotatoChip has much to be proud ofBrotatoChip has much to be proud ofBrotatoChip has much to be proud ofBrotatoChip has much to be proud ofBrotatoChip has much to be proud ofBrotatoChip has much to be proud ofBrotatoChip has much to be proud ofBrotatoChip has much to be proud ofBrotatoChip has much to be proud ofBrotatoChip has much to be proud of
re: Leftover bolts from head gasket replacement? [solved]

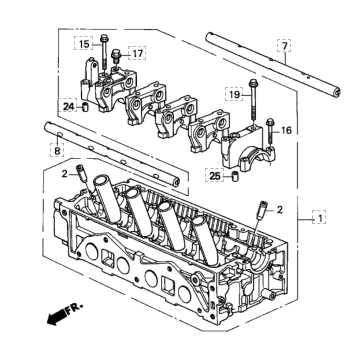
My guess is number 15 in this diagram. Stated as 50 mm long. Your pic shows yours are very close to that length (you say 2.75" but the bolt starts at 1").


Reply
Old Mar 3, 2023
  #3  
xRiCeBoYx's Avatar
Administrator
Hey! Look At Me!! I'm a Supporting Member!!
Administrator
iTrader: (22)
 
Joined: Aug 2003
Posts: 21,620
Likes: 1,252
From: Las Vegas, NV
Rep Power: 512
xRiCeBoYx has a reputation beyond reputexRiCeBoYx has a reputation beyond reputexRiCeBoYx has a reputation beyond reputexRiCeBoYx has a reputation beyond reputexRiCeBoYx has a reputation beyond reputexRiCeBoYx has a reputation beyond reputexRiCeBoYx has a reputation beyond reputexRiCeBoYx has a reputation beyond reputexRiCeBoYx has a reputation beyond reputexRiCeBoYx has a reputation beyond reputexRiCeBoYx has a reputation beyond repute
re: Leftover bolts from head gasket replacement? [solved]

I second the notion. Without looking at @BrotatoChip 's response, I was saying they looked like bearing cap bolts

Originally Posted by shunpiker
The bolt requires a 10mm wrench/socket
I have to laugh at this part because probably 50-75% of the bolts on a Honda use a 10mm
Reply
Old Mar 3, 2023
  #4  
shunpiker's Avatar
Thread Starter
Registered!!
 
Joined: Mar 2023
Posts: 17
Likes: 2
From: North Carolina
Rep Power: 0
shunpiker is an unknown quantity at this point
re: Leftover bolts from head gasket replacement? [solved]

Hi guys,

Thank you very much for the quick replies. That's not them, though. I never had the rocker assembly apart; i removed the head as its assembly.
Though I had written on that piece of tape, "last 2.. from head", maybe they are something else.

I really appreciate your answers!
Reply
Old Mar 3, 2023
  #5  
BrotatoChip's Avatar
Super Moderator
 
Joined: Jun 2012
Posts: 5,073
Likes: 2,096
From: Ohio
Rep Power: 224
BrotatoChip has much to be proud ofBrotatoChip has much to be proud ofBrotatoChip has much to be proud ofBrotatoChip has much to be proud ofBrotatoChip has much to be proud ofBrotatoChip has much to be proud ofBrotatoChip has much to be proud ofBrotatoChip has much to be proud ofBrotatoChip has much to be proud ofBrotatoChip has much to be proud ofBrotatoChip has much to be proud of
re: Leftover bolts from head gasket replacement? [solved]

Are the heads of the bolt clean like they were inside the engine? Or dirty like they were outside?
Reply
Old Mar 3, 2023
  #6  
BrotatoChip's Avatar
Super Moderator
 
Joined: Jun 2012
Posts: 5,073
Likes: 2,096
From: Ohio
Rep Power: 224
BrotatoChip has much to be proud ofBrotatoChip has much to be proud ofBrotatoChip has much to be proud ofBrotatoChip has much to be proud ofBrotatoChip has much to be proud ofBrotatoChip has much to be proud ofBrotatoChip has much to be proud ofBrotatoChip has much to be proud ofBrotatoChip has much to be proud ofBrotatoChip has much to be proud ofBrotatoChip has much to be proud of
re: Leftover bolts from head gasket replacement? [solved]

Okay, second guess. First, I'm going to assume this is not an EX trim (no VTEC). Number 23 in the pic. Listed as 6x45mm and requires two. 45mm is really close to 1.75". There are three of these on the VTEC model which is why I didn't think of it at first.


Reply
Old Mar 3, 2023
  #7  
shunpiker's Avatar
Thread Starter
Registered!!
 
Joined: Mar 2023
Posts: 17
Likes: 2
From: North Carolina
Rep Power: 0
shunpiker is an unknown quantity at this point
re: Leftover bolts from head gasket replacement? [solved]

You are a saint, @BrotatoChip , thank you! That's them.
They're clean, but dry - like they've been in a protected spot on the exterior.
It is an LX, and there's a similar bracket right there as in your photo.
Now I can proceed without the associated trepidation, ha!

Thanks again to everyone!
Reply
Old Mar 3, 2023
  #8  
BrotatoChip's Avatar
Super Moderator
 
Joined: Jun 2012
Posts: 5,073
Likes: 2,096
From: Ohio
Rep Power: 224
BrotatoChip has much to be proud ofBrotatoChip has much to be proud ofBrotatoChip has much to be proud ofBrotatoChip has much to be proud ofBrotatoChip has much to be proud ofBrotatoChip has much to be proud ofBrotatoChip has much to be proud ofBrotatoChip has much to be proud ofBrotatoChip has much to be proud ofBrotatoChip has much to be proud ofBrotatoChip has much to be proud of
re: Leftover bolts from head gasket replacement? [solved]

Yep, LX don't have VTEC. Glad we found it. Hope the rest of your project goes smoothly
Reply
Related Topics
Thread
Thread Starter
Honda Civic Forum
Replies
Last Post
DaBoss1325
Engine
3
Sep 16, 2022 12:37 AM
2005-civic-vp
Engine
30
Jul 7, 2022 05:41 AM
Niaboc67
Mechanical Problems/Vehicle Issues and Fix-it Forum
58
Sep 6, 2017 08:16 PM
tom1987tm
General Honda Civic Forum Archive.
8
May 31, 2010 07:20 PM




All times are GMT -5. The time now is 12:51 PM.