Oil Leaks and another issue
Oil Leaks and another issue
Hey guys. I need your help once again...someone may have had the issue that i'm having. I've attached some pics for y'all to look at and maybe help me out. The other day I went to check all the fluids on my car..I opened the hood and the first thing that I noticed was quite a bit of oil coming from places that it shouldn't be. The most noticeable place I saw the oil leaking from was on top of the engine leaking out of the hole where the ignition coil sits. So I took the ignition coil off(mind you that it was hard to pull it out because of the suction from the rubber boot on the bottom of the ignition coil) and the entire hole was filled with oil. I cleaned off the coil and used a towel to sop up most of the oil from the hole but I know it's not going to take long for it to fill back up. Has this type of leak happened to anyone before or can someone point me in the right direction of how to fix it? Also, I was curious to see if there where other oil leaks..so i looked around the engine and, low and behold, I found more oil. I also took pics of those locations too. I couldn't figure out where the oil was leaking from in those areas though. The car/engine runs great. I haven't noticed any reduced engine performance. Also, here lately I've noticed that when I start my car in the mornings or just when the engine is cold and start driving that the engine revs abnormally when the transmission switches gears. It only does it when the car is cold. After it heats up to operating temp it doesn't do it. Maybe someone knows about that as well. I appreciate if someone could help me with my situations. Thanks in advance.
Re: Oil Leaks and another issue
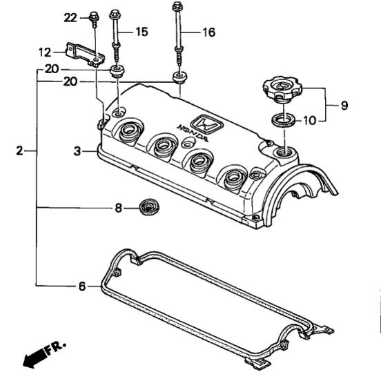
As for your oil leak it looks like you need a valve cover gasket kit that when you take your valve cover off there will the one that runs the perimeter of your cover and then 4 o rings that go around the openings for the coil packs and also 5 washer type gaskets that go around the bolts that hold it down
not sure of a parts number but I would buy oem for that
not sure of a parts number but I would buy oem for that
If you think a good mechanic is expensive, try hiring a bad one
Joined: Dec 2011
Posts: 32,017
Likes: 256
From: Midwest. Aiming about mid-chest
Rep Power: 518 










Re: Oil Leaks and another issue
The rubber is missing from this coil, it's probably stuck to the spark plug:

I can see the problem here:

The lip of the seal on that one plug hole had an edge caught on the tube when the valve cover was reinstalled. You can see the lip stretched over the top of the tube on the right side.
Looks like something a valve cover gasket set (with 4 tube seals) should fix.
(Gasket set was replaced recently? If that seal isn't torn and it is still pliable, it might be ok by just lifting the valve cover and tucking it back into the right place.)
Upon reassembly, make sure all 4 tube seals are seated around the tubes, not caught over the tops of the tubes like this one has been.
Probably will need a coil and at least the one plug.
After you pull the spark plug out, that oil will run into the cylinder.
That's ok......
Put a towel over the open hole and crank the engine over to blow out the excess oil from the cylinder.
Then reinstall the plug and coil.
Fire it up.
Expect a blue cloud from the exhaust for a minute or two while it burns out that oil.
HTH
I can see the problem here:
The lip of the seal on that one plug hole had an edge caught on the tube when the valve cover was reinstalled. You can see the lip stretched over the top of the tube on the right side.
Looks like something a valve cover gasket set (with 4 tube seals) should fix.
(Gasket set was replaced recently? If that seal isn't torn and it is still pliable, it might be ok by just lifting the valve cover and tucking it back into the right place.)
Upon reassembly, make sure all 4 tube seals are seated around the tubes, not caught over the tops of the tubes like this one has been.
Probably will need a coil and at least the one plug.
After you pull the spark plug out, that oil will run into the cylinder.
That's ok......
Put a towel over the open hole and crank the engine over to blow out the excess oil from the cylinder.
Then reinstall the plug and coil.
Fire it up.
Expect a blue cloud from the exhaust for a minute or two while it burns out that oil.
HTH
Re: Oil Leaks and another issue
Thanks for the info guys. Definitely helps me out. I'm going to make that my weekend project. This is probably a dumb question but do I need to drain the oil in order to replace the valve cover gasket?
If you think a good mechanic is expensive, try hiring a bad one
Joined: Dec 2011
Posts: 32,017
Likes: 256
From: Midwest. Aiming about mid-chest
Rep Power: 518 










Re: Oil Leaks and another issue
Awesome. Now when I get ready to replace the gasket is the valve cover just going to come off with a little resistance or will I have to pry it open? Can you tell me if the gasket has to have some kind of adhesive?
If you think a good mechanic is expensive, try hiring a bad one
Joined: Dec 2011
Posts: 32,017
Likes: 256
From: Midwest. Aiming about mid-chest
Rep Power: 518 










Re: Oil Leaks and another issue
When was the last time it was off?
There should be RTV in the corners of the cam cap humps, that's it. (Unless some rookie glued it in all the way around.)
Re: Oil Leaks and another issue
I couldn't tell you when it was last off. I'm assuming the previous owner had some work done on the engine before I purchased it. So there's no telling. As I mentioned in my original post I noticed oil on the left side of the engine under the big air intake box. You can see in one of the pics I uploaded. Might you know if there is a common leak on that side of the engine too?
If you think a good mechanic is expensive, try hiring a bad one
Joined: Dec 2011
Posts: 32,017
Likes: 256
From: Midwest. Aiming about mid-chest
Rep Power: 518 










Re: Oil Leaks and another issue
Might you know if there is a common leak on that side of the engine too?
Read here: https://www.civicforums.com/forums/3...-oil-leak.html
If you think a good mechanic is expensive, try hiring a bad one
Joined: Dec 2011
Posts: 32,017
Likes: 256
From: Midwest. Aiming about mid-chest
Rep Power: 518 










Re: Oil Leaks and another issue
YW.
FYI: If you have an EX/VTEC, the gasket for the VTEC valve can leak too. Common leaks at high mileage.
FYI: If you have an EX/VTEC, the gasket for the VTEC valve can leak too. Common leaks at high mileage.
Re: Oil Leaks and another issue
The rubber is missing from this coil, it's probably stuck to the spark plug:

I can see the problem here:

The lip of the seal on that one plug hole had an edge caught on the tube when the valve cover was reinstalled. You can see the lip stretched over the top of the tube on the right side.
Looks like something a valve cover gasket set (with 4 tube seals) should fix.
(Gasket set was replaced recently? If that seal isn't torn and it is still pliable, it might be ok by just lifting the valve cover and tucking it back into the right place.)
Upon reassembly, make sure all 4 tube seals are seated around the tubes, not caught over the tops of the tubes like this one has been.
Probably will need a coil and at least the one plug.
After you pull the spark plug out, that oil will run into the cylinder.
That's ok......
Put a towel over the open hole and crank the engine over to blow out the excess oil from the cylinder.
Then reinstall the plug and coil.
Fire it up.
Expect a blue cloud from the exhaust for a minute or two while it burns out that oil.
HTH
I can see the problem here:
The lip of the seal on that one plug hole had an edge caught on the tube when the valve cover was reinstalled. You can see the lip stretched over the top of the tube on the right side.
Looks like something a valve cover gasket set (with 4 tube seals) should fix.
(Gasket set was replaced recently? If that seal isn't torn and it is still pliable, it might be ok by just lifting the valve cover and tucking it back into the right place.)
Upon reassembly, make sure all 4 tube seals are seated around the tubes, not caught over the tops of the tubes like this one has been.
Probably will need a coil and at least the one plug.
After you pull the spark plug out, that oil will run into the cylinder.
That's ok......
Put a towel over the open hole and crank the engine over to blow out the excess oil from the cylinder.
Then reinstall the plug and coil.
Fire it up.
Expect a blue cloud from the exhaust for a minute or two while it burns out that oil.
HTH
I would guess it would be safe to brake clean the coil?
If you think a good mechanic is expensive, try hiring a bad one
Joined: Dec 2011
Posts: 32,017
Likes: 256
From: Midwest. Aiming about mid-chest
Rep Power: 518 










Re: Oil Leaks and another issue
I wouldn't reuse it on a customers car, I need it to be a guaranteeable repair.
Re: Oil Leaks and another issue
I've got this issue on my 2002 Civic and have the Felpro set from Autozone. The kit includes four "grommets", four spark plug tube seals, five rubber washers for the valve cover bolts, and the main gasket. What is the function of the "grommets"?
If you think a good mechanic is expensive, try hiring a bad one
Joined: Dec 2011
Posts: 32,017
Likes: 256
From: Midwest. Aiming about mid-chest
Rep Power: 518 










Re: Oil Leaks and another issue
Pics?
Thread
Thread Starter
Honda Civic Forum
Replies
Last Post
LionSpratt
General Automotive Discussion
14
Jan 29, 2017 11:07 PM
BootyDo
Fuel, Oil, Cleaners & Other Maintenance
8
May 7, 2015 04:46 PM





